Комплекс усилителей переменного тока и напряжения
ООО «ВипЭл» закончены работы по разработке, изготовлению и внедрению «Комплекса импульсно-модуляционных усилителей переменного тока и напряжения» (КИМУП) для Томского Энергетического института и ООО «Маршал».
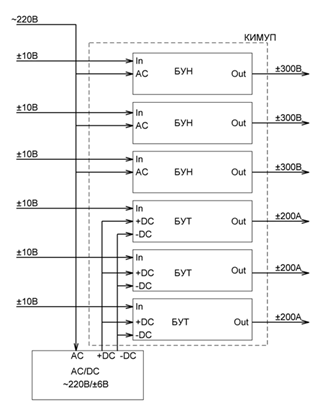
КИМУП обеспечивает усиление входных задающих сигналов с максимальной точностью по амплитуде с минимальным отставанием по фазе, и передачу усиленного сигнала на входы устройств релейной защиты и автоматики энергосистем (РЗ и А), включая шкафы РЗ и А. Рабочий диапазон частот КИМУС от 0 до 800Гц.
Общая структура КИМУП соответствует следующей схеме:








16.01.2017, 